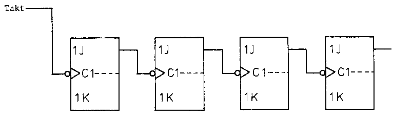
Dies ist eine Schaltung die folgendermaßen zählt: 0-1-2-...-15-0-1-2-...-15-0-...

Die Ausgänge der Flip-Flops stellen die 4-Bit der Dualzahl dar.

Beim Zählerstand 5 (Q0=1, Q1=0, Q2=1) wird der Ausgang des NAND-Gatters 0. Dadurch werden alle Flipflops über den Reset-Eingang (0-aktiv) rückgesetzt. Der Zähler beginnt wieder bei 0.